みなさんこんにちは、株式会社DRONE IP LAB代表取締役 弁理士の中畑です。前回の連載では、DJIの知財戦略を総論的に解説しました。前回の記事への反響が予想以上に大きかったため、弊社リサーチセンターの総力を挙げてDJIの知財戦略を更に深堀りしていきたいと思います。
今回は特許のみならず、意匠(デザイン)や、商標(ロゴやネーミング)についてもみていきます。
DJIの知的財産ポートフォリオ
第1回の連載時にアイデアに関する「特許権」、デザインに関する「意匠権」、ブランドに関する「商標権」という権利等が存在している、ということをお伝えしました。
DJIの分析の前に、一般的にこれらの出願が年間どれくらいなされているのか、見ていきましょう。図1は、2016年の1年間に日本国の特許庁に出願された各出願の件数を表しています。特許出願は30万件超、意匠登録出願がその1/10程度、商標登録出願は特許出願の半数程度です。なお、日本への特許出願件数は2007年以降、減少を続けており、いまだに反転の兆しは見えていません。
このような前提のもと、DJIの出願件数をみていきましょう。図2は、2017年12月までに公開されている情報に基づいて、日本におけるDJIの出願件数(登録済みのものも含みます)を権利ごとにまとめたものです。
注目したいのは、意匠登録出願の多さです。特許出願に匹敵するほどの件数を占めております。DJIが自社プロダクトのデザインの保護の意識の高さがうかがえます。確かに、DJIのドローンはその独特なデザインで、一目見ただけで製品目まで特定できるようなものばかりです。
さて、DJIの知的財産に関する出願ポートフォリオが把握できたところで、各出願分野を一つ一つみていきましょう。
最強特許はどれだ?!DJIの基本特許の探し方
2017年12月時点で公開されている日本国への特許出願は183件ありました。図3は、全出願のタイトル(発明の名称)のリストを示しています 。
リスト化してみると、ハード、ソフト、サービスに至るまで、改めてDJIはバランスよく特許ポートフォリオを構築していることがわかります。特に、「雲台」「ジンバル」「カメラ」という用語が頻繁に表れており、DJIが「カメラ付きドローン」のプロダクトに力を入れていることを裏付けています。
さて、このリストの中から重要な特許(「基本特許」といいます)を探し出したいと思います。「基本特許」とは、その技術の根幹をなす要素に付与された特許をいいます。古くは、ゼロックスの「複写機」特許や、フィリップスの「カセットテープ」特許、最近では、AMAZONの「ワンクリック(決済)」特許などが挙げられます。
このような基本特許を探す場合、1件1件の特許公報を読むこともあるのですが、今回は、ある方法を使ってあぶりだしていきたいと思います。その方法とは、特許庁の審査における「被引用回数」を利用するものです。学術論文においても、引用される回数が多い論文は、より基礎的な内容であることが多いことと同じです。
・第1位 被引用回数 12回
ご存知インスパイアの可動フレーム構造です。出願書類中には「変形可能なアセンブリ20の上向きの傾転が、中心体10の下の空間を増加させる」という記載があります。簡単に言うと、フレームが上向きになることにより、カメラ等の有効視野角が増える(映像にフレームが入り込まない)ことを実現している技術です。
下の実際の製品図を見ると一目瞭然ですね。
個人的には、フレームを上にあげることによって重心が下がる(上空でひっくり返りにくい)という効果もあると思うのですが、出願書類では、その点については触れられていませんでした。
こちらの技術については、現時点ではまだ特許権は発生しておらず、審査中のステータスとなっています。特許が通れば、このような可動フレームを有するドローンの製造はDJIだけが行うことができるようになる可能性があります。
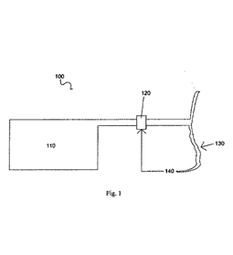
・第2位 被引用回数 6回
いわゆるドローンのエアバッグのような技術です。
図示されているように、この装置は、ガス容器110と弁120と膨張可能部材130とを有しています。
「前記無人型航空機に電力を提供する第2の電力源とは別個の第1の電力源により電力供給される制御機構であって、前記無人型航空機の機能不全を示す信号に応じて、前記圧縮ガスを前記容器から前記膨張可能部材内に流入せしめる(請求項1=権利範囲の記載)」とあるように、ドローンの飛行制御系統とは別系統の電源から電力が供給され、機能不全を示す信号が発せられたときに開くようです。飛行制御系統と別系統の電源から電力を取った理由としては、一系統しかない場合だと、その電源に異常をきたした場合にエアバッグの作動もできなくなってしまうからのようです。
・第2位 被引用回数 6回
ストラップダウン方式の慣性航法を実現するためのセンサ類をダンパ付きの箱に格納することによって、飛行中の振動から保護するための技術です。ダンパは、6つの減衰部で構成されています。
以上、被引用回数が5回以上の3件を見ていきましたが、いずれも、機体に関する基本的な技術となっています。
一般に、基本的な技術に特許が発生すると、そのマーケットへの参入障壁は一気に上がります。同じ強さの基本特許を持っていない場合にはそもそもそのマーケットへ入場できない(または、ライセンスという入場料を払って参入する)こととなりますし、このような基本特許を複数持っているプレイヤーはそのマーケットで非常に強い競争優位性を獲得することができます。
DJIのデザイン保護戦略
さて、次に意匠登録出願を見ていきましょう。意匠権という言葉はなかなか身近ではないのですが、デザインを保護する権利としてはとても強力な権利です。
また、中身の性能が異なっていても、外観の形状が類似していれば、侵害を問うことができます。いくつか登録例をみていきましょう。
ご存知、MAVICの機体デザインです(私の愛用機!)。よく見ると、バッテリが装着されている本体部が点線となっており、アームから先が実線となっています。この意匠権のカバー範囲は、実線部分なのです。つまり、実線部分と同じデザインを備えていれば点線部分は多少形状が変わっていても権利侵害となってしまいます(本体部を一部だけデザイン変更して権利侵害を回避することを考慮したのでしょう)。
このような出願の方法を「部分意匠」の出願といいます。製品デザインの中で一番訴求力のある部分を保護する制度です。
DJIは、部分意匠に関する意匠登録出願を多く出しておりました。以下にいくつか挙げてみます。
なんと、指輪が出願されていました。モーターマウントの部分に宝石のようなものが表示されています。DJIファンだったらプレゼントされたい?!
意匠権で保護することができるものは、機体計上のみならず、画面デザインも保護することができます。従来は、ボタンやスイッチといった物理的な形状のみ保護されていましたが、近年では液晶パネル上にそのようなボタンを表示することが多くなりました。これに伴い、液晶に表示されるボタン(User Interface:UI)も保護することができるように意匠法が整備されました。
さて、意匠登録出願を見ていきましたが、DJIは自社製品のドローンの機体形状やプロポはほぼすべて登録を受けていました(図は割愛します)。DJIがいかに製品のデザインを重視しているかがわかります。
ちなみに、意匠登録出願は、特許庁の出願費用(審査費用込み)も16,000円と低廉のため、デザインに特徴があるドローンは積極的に活用していいのではないかと思います(ただし、弁理士等による出願書類の作成費用は別途かかります)。
■発表前の製品名もわかる?!DJIの商標戦略
DJIが出願中又は登録済みの商標の一部をリストにしてみました(アルファベット順で表示しています)。
左列の「登録~~」という番号が付されている商標は既に登録されているものであり、「商願~~」という番号が付されている商標は現在審査中のものです。
商標権の権利範囲は「商標(ネーミングやロゴ)」と「指定商品・指定役務(製品・サービス)」とのセットで考えます。つまり、ネーミングが似ていても、商標登録されている指定商品が違っていれば、侵害とはなりません(以下のリストには指定商品・指定役務の記載は省略しております)。
リストを見てみると「DJI ASSISTANT」や「drone market」「AEROSCOPE(飛行中のドローンを識別および管理する技術)」等のサービス名称についてもしっかりと保護を図っていることがわかります。
残念ながら、新製品の名称につながりそうなヒントは本校執筆時点では公開されていませんでした。商標登録出願は、出願から2週間程度で公開されるため、出願があれば、比較的早くに把握することは可能です。企業によっては、商品名になり得る商標を「ストック商標」として多数保有しているケースもあります。
まとめ
以上、特許、意匠、商標に関して、DJIの出願事例をみてきました。一言でいえば、法域、そして各法域内の出願内容について、まんべんなく周到な保護を図っていることがわかりました。
日本に対する知財予算も数千万円後半程度を確保しているのではないかと推測されます。そして、ここまで、しっかりと権利を取得しているということは、その権利の行使(侵害訴訟やライセンス等)を見越していることも当然に予想されます。
ドローン技術の基本特許を複数抑えるDJI社に対して、その基本特許を回避した開発をするのか、それとも、基本特許のライセンスを受けた上で独自改良技術で勝負をするのか、今後のドローン開発競争から目が離せません。
